Patent shows a lower-cost semi-auto that could be fitted to virtually any conventional bike
Yamaha’s Y-AMT automated manual transmission system is already available on several models in the three-cylinder MT-09-based range and twin-cylinder MT-07-derived lineup but the company has developed a simpler, cheaper version of the system that could see it spread to even more bikes.
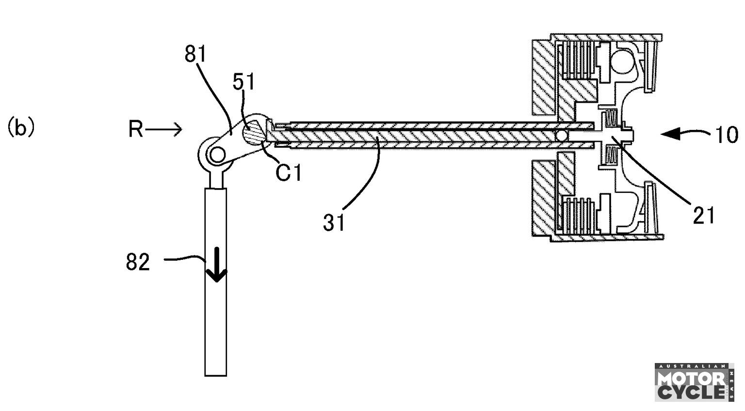
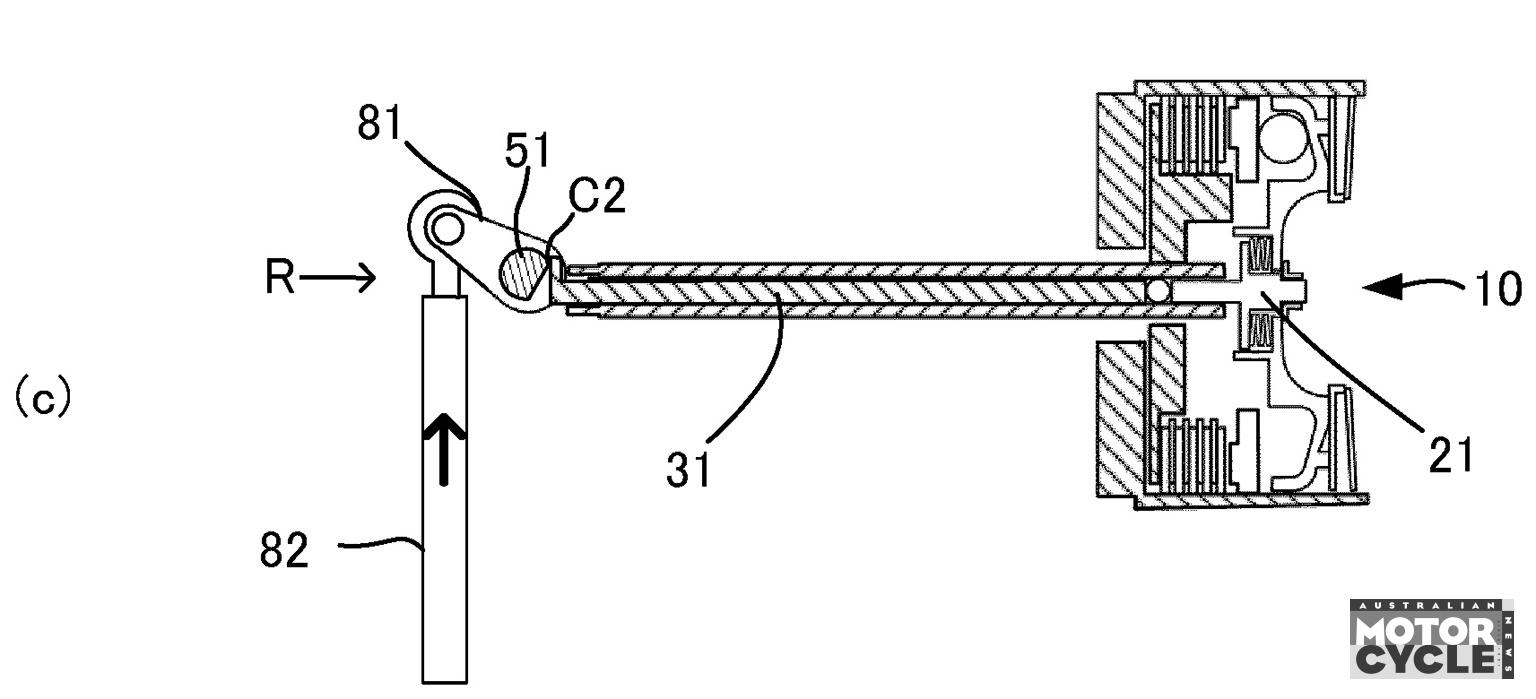
Revealed in multiple new patent applications, the simplified semi-auto manages to eliminate one of the two actuators used in the existing Y-AMT setup, allowing both the clutch and the gearshift to be operated simultaneously by a single electromechanical servo.

That servo is connected to a completely conventional manual transmission, and mounted externally so it simply replaces the foot-operated shifter. A linkage turns the splined shaft that’s normally attached to the gear lever, allowing the servo to perform the same task that’s usually performed by your left foot. A second linkage attached to the same servo operates the clutch, momentarily disengaging it at the same moment as it moves the gear shifter, and immediately engaging the clutch again once the gearchange has been made.

While that simplified setup means gearshifts can be made at the touch of a button, or fully automatically, depending on the software in the electronic control unit that operates the system, it doesn’t address how the bike can come to a halt in gear or pull away from a standstill. That’s where the second element of the Yamaha design comes into play in the form of a centrifugal clutch. Similar to the clutches seen on scooters and in some other bikes in the new wave of semi-autos – most notably BMW’s new F450GS – the Yamaha’s centrifugal clutch disengages when revs drop to idle and reengages when the throttle is opened, allowing smooth starts and stall-free stops.

Yamaha’s patent makes a point of the fact the system is intended to be fitted to existing engines and transmissions without major changes to their designs, allowing semi-autos to spread more rapidly across a broader array of models. The patent illustrations show a generic parallel twin, but there’s potential for the simplified Y-AMT system to be fitted to a wide array of models if Yamaha perceives a demand for the technology. If the price can be brought down enough, it’s easy to imagine that small single-cylinder bikes aimed at learner riders could be a prime target for the ease-of-use that an automated transmission offers.











