Patent finally tackles an issue that has existed for 40 years
In the fast-growing arena of Chinese sportsbikes single-sided swingarms are increasingly being used to mark out high-spec models – and a new patent application shows Loncin’s Voge brand is planning to add just such a machine to sit above its newly-launched RR500S.

The Voge RR500S appeared in China last year and made its global debut at EICMA in November, sporting a 475cc four-cylinder engine that makes 57kW (76hp) and revs to 14,000rpm. It’s not Voge’s biggest sportsbike, that’s the RR660S, but it’s a more extreme machine aimed at the burgeoning domestic market for small, screaming four-cylinders. The bike’s EICMA appearance tells us it’s coming to worldwide markets in the future, and the new patent indicates a higher-spec version.

While single-sided swingarms have long been associated with exotic bikes it’s difficult to make a convincing case for them other than style. A single-sider is generally heavier and less rigid than a dual-sided arm. Ducati’s recent move to drop single-sided arms from its highest-performance bikes reflects that. On the road you’re unlikely to notice that weight and rigidity difference, and the aesthetic appeal is hard to deny.
But what is patentable about a type of swingarm that’s been in common use for the best part of 40 years? The answer lies in the way it addresses an issue that’s particular to single-siders: rear brake cooling.

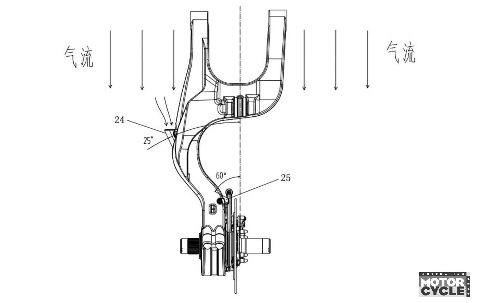
When you have a single-sider the brake is sandwiched between the hub and the wheel, severely restricting the airflow past it.
Voge’s solution is a duct that channels air from the left side through the swingarm itself to two outlets – one pointing at the surface of the rear disc, the other directed down towards the caliper. The result should be much-improved brake cooling, and since the swingarm is hollow it doesn’t add much complexity or cost. bP











