Simplicity rules for new, low-performance EV
There’s an argument to be made that the high-tech, high-price route taken by many of the high-profile electric bikes on the market today is the wrong one – and that instead of aiming at the top of the market they should be targeting the masses with cheap machines that capitalise on efficiency of electric power to save even more money.
We’ve already seen that basic electric scooters have succeeded on that premise in countries like China, where they sell by their millions, and now Honda has filed a patent showing an ultra-basic electric motorcycle that could be aimed at markets like India and Africa.

The new design, which is detailed enough to indicate it’s a serious, production-intended project, adopts a simple, conventional steel backbone frame and the simplest and cheapest components, from the dual-shock rear to the cable-operated drum brake at the front. But where you’d normally expect to find a simple, air-cooled single-cylinder engine, there’s a small electric motor, a single-speed transmission and a pair of removable batteries.
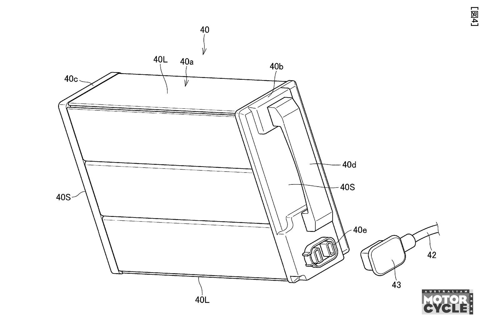
The way those batteries are mounted are the focus of the patent application. They sit in metal frames, one on either side of the bike, which are hinged at the front. That means the cages can be swung sideways to slide the batteries out. When the batteries are in place, the cages hinge back into place, aligning the batteries into cut-outs on each side of the bike’s ‘tank’ area, and locking into place so they can’t be removed.

A lockable flap on top of the ‘tank’ hides a simple, manual latch that locks the battery cages into place, so they can’t be removed unless you have the key, and the patent shows that the bike also has an old-school ignition key to turn it on, just behind a basic readout that presumably includes information about their state of charge.
There’s no on-board charger and no complicated mechanism to connect the batteries once they’re put in place. Instead you just plug them in with a flexible cable for each when they’re on the bike, and remove them to bring indoors and charge at the end of the day.

It’s not clear what the battery chemistry is or what range or performance they might offer, but the goal must be to make the two batteries and the electric motor and transmission cheaper than the basic combustion engine normally found in a bike like this, lowering the cost of purchase enough to offset any inconvenience in terms of range or performance.











