Electric upgrade a hint that model is being developed for a full international release
Electric reverse gear systems are becoming increasingly commonplace on large-capacity touring bikes and CFMoto looks like it’s joining that trend after publishing patent applications for a reverse gear on its big 1250TR-G tourer.
The 1279cc 1250TR-G is CFMoto’s biggest bike and currently the only model in the company’s range to use the V-twin engine developed from KTM’s LC8.

It was launched in China nearly five years ago and, while it’s gone on sale in parts of Asia, including Malaysia, its main sales are in China, including to law enforcement agencies. For the past year there have been reports that it is being prepared for a European launch and even evaluated for a possible future Australian release.
Its tech is impressive, including a massive 12.3-inch colour TFT dashboard, keyless start, radar-assisted adaptive cruise control and a JBL stereo system.

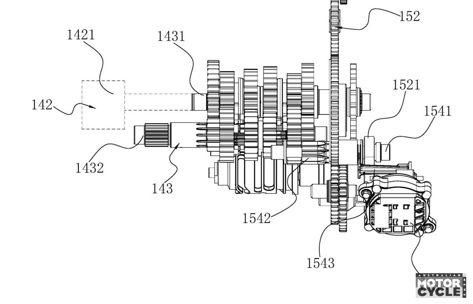
The proposed reverse gear system system uses an electric motor and a series of gears to connect it to the transmission, with its own gear fork – operated independently of the main gear drum via an electronic actuator – to engage or disengage the reverse. There’s a lockout that prevents it being selected when any of the forward ratios are also engaged, so you need to be in neutral before going into reverse and you won’t be able to put the bike into another gear until the reverse system has been disengaged.

Since the whole system is based purely around an electric motor, it’s likely that – in line with rivals like Honda’s Gold Wing – the reverse system will also be able to be used as a ‘walking’ gear to go forwards at low speed when trying to manoeuvre the bike into a tight spot.











