Aluminium glued into place to make a composite frame for future racing
While its rivals have fiddled with and then forgotten carbon frames, Aprilia is powering on with developing this technology.
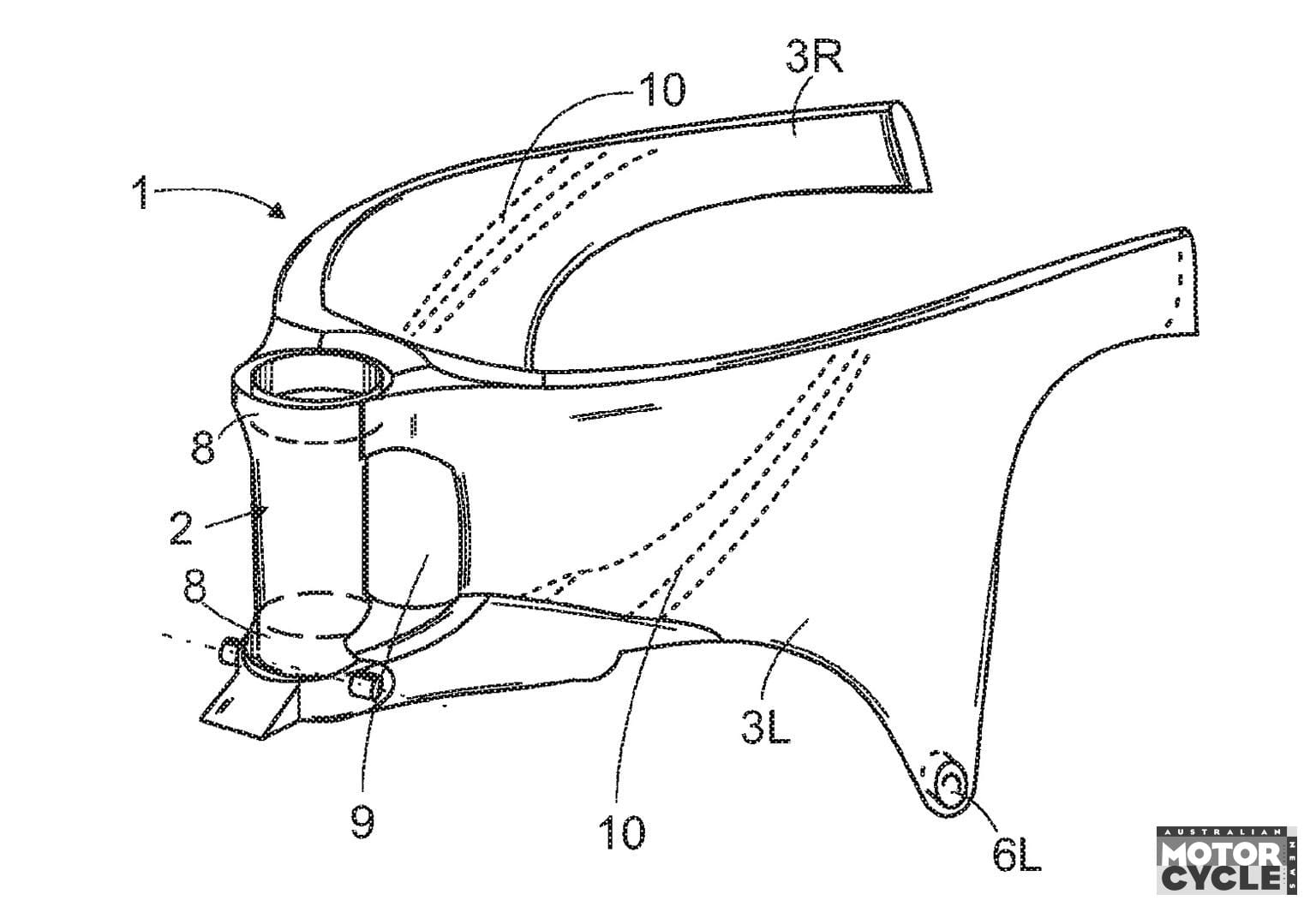
Structural details of the latest Aprilia RS-GP’s prototype carbon chassis have emerged thanks to a patent application from its parent company, Piaggio.
It reveals a chassis combining carbon fibre and aluminium using glue rather than bolts.

Aprilia has been among the latest to experiment with carbon frames, testing them on its MotoGP bikes in 2023 and 2024, but yet to commit to racing with it. Previously Ducati and KTM tried carbon frames.
The patent papers show the front section is almost entirely carbon, including the steering head, with upper and lower metal bushings for the steering shaft embedded into it. The external shape of the steering tube is oval, giving better aerodynamics than a simple, circular cross-section, and it’s moulded as one piece with the sides of the frame, but connected to them only by relatively slim sections at the top and bottom. That means there are wide openings on each side of the steering tube, letting air from the bike’s nose intake into the airbox. Those side members of the frame are moulded as an outer skin with a separate inner skin later glued into place, creating a hollow carbon beam on each side. There are internal braces (marked as dotted lines on the patent) hidden inside.

The swingarm pivot area is mainly aluminium rather than carbon, with two castings labelled ‘4R’ and ‘4L’ in the drawings. The outer carbon skin of the frame extends back over these castings, creating a large contact area between the two parts so they can be glued together.
Although Aprilia’s carbon MotoGP chassis was tested in late 2023 and development was confirmed as continuing through 2024, the company’s 2025 race bike still uses an aluminium chassis, even if the swingarm is an all-carbon structure. In future that could change if the company’s continuing research into carbon frames proves fruitful.
Carbon fibre has been the chassis material of choice for top level racing cars for more than 40 years but still remains a controversial choice for motorcycle frames. BP











