Patent suggests repositioned gears and a neutral lock-out could become the norm
While we’re all used to the ‘one down, five up’ gearshift pattern that’s become the norm over recent decades there’s plenty of evidence that it’s far from ideal – and with Ducati’s new Panigale V4 R introducing a race-style pattern with neutral at the bottom and all six speeds above it there’s a real possibility that more bikes will adopt the same layout.
A new patent filed by Ducati to protect the Panigale V4 R’s neutral lock-out (Ducati Neutral Lock, or DNL, in Ducati-speak), illustrates how simple the system is, leaving little reason to think that the same setup won’t be used by more road-oriented models in the future.

As Ducati’s patent explains, the standard shift pattern – 1-N-2-3-4-5-6 – has only become the norm since the 1970s, and that the ‘all-up’ pattern used in the 2026 Panigale V4 R’s ‘DRG’ (Ducati Racing Gearbox) transmission was quite common before that, with the likes of Kawasaki’s Mach IV H2 putting neutral at the bottom, so you shift up for first and all the remaining gears. The problem with such designs is that it’s all too easy to hit neutral when trying to shift down into first, and the now-normal setup of pushing down for first and up for the rest of the gears was a simple solution to stop that from happening.
Ducati’s DRG reverts to the old system but adds a neutral lock-out, the DNL, in the form of a thumb lever on the righthand bar, making it impossible to inadvertently select neutral without making the conscious move to push that lever. It’s a system that’s already ubiquitous on the MotoGP grid, with a variety of different neutral lock-outs used depending on the manufacturer, but Ducati’s version, detailed in the new patent, is particularly simple and easy to implement.

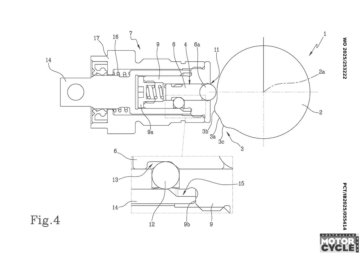
The N-1-2-3-4-5-6 pattern is achieved with a simple redesign of the selector drum, while the neutral lock-out comes in the form of a cam attached to the selector drum, contacting a metal ball on the end of a sprung rod. In neutral, the cam pushes the ball and rod down into a cylinder, but once you shift into first and the cam lobe moves, the rod and ball move up and are immediately locked in place as three more metal balls are pushed into a narrow, waisted section of the rod. As those three balls move inwards, a sleeve – also mounted on a spring – slides up and prevents them returning, locking the rod in place and preventing the shift drum from being able to rotate back to the neutral position.
The bar-mounted neutral lock-out lever is connected to the sleeve, pulling it back against the spring to allow the three balls to move out of the way of the rod, which can then be pushed back by the cam as neutral is selected. The bar-mounted lever can use either a mechanical system like a cable to pull back the sleeve, or an electronic system like a solenoid to achieve the same task.

Ducati’s patent application points out that other companies have also come up with similar systems, listing Honda, Kawasaki and Aprilia patents for neutral lock-outs, but claims to be simpler, cheaper and more reliable than rival designs. Given its low cost and simplicity, it’s easy to see how more Ducatis could be equipped with the same system in future, particularly given Ducati’s record of debuting ideas on its ‘R’ homologation models before filtering them through to more mainstream superbikes and other models a year or two later on.











