Documents reveal high-performance electric sports bike
Electric motorcycles haven’t hit the mainstream yet despite the efforts of both major manufacturers and endless startups but there’s a feeling of inevitability about the technology: as soon as lighter, faster-charging and more energy-dense batteries become widely available to bring performance parity with ICE bikes we could see a rapid shift towards electric powertrains.
As such, it’s essential for forward-thinking bike makers to be ready. With developments like solid-state batteries and sodium-ion chemistries expected to become commonplace by 2030, improving energy-density while reducing costs and charging times, the moment when the balance tips in favour of electric motorcycles could come in the next handful of years.
Honda clearly isn’t sleeping on electric power, and as well as launching battery-powered scooters like the CUV e: and promising an upcoming motorcycle based on last year’s EV Fun Concept, it’s filed patent applications depicting a FireBlade-style electric superbike.

Honda isn’t without experience in this field. It backed the Mugen Shinden project that competed at the Isle of Man TT Zero races from 2012 until the race was cancelled after the 2019 running, winning for six years on the bounce from 2014, and there are distinct similarities between the new Honda design and the last generation of the Mugen electric racer, which took a one-two finish the 2019 TT Zero in the hands of Michael Rutter and John McGuinness.
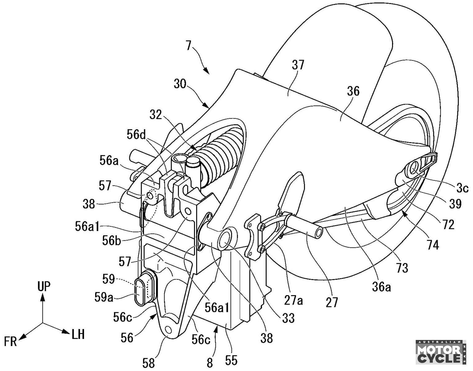
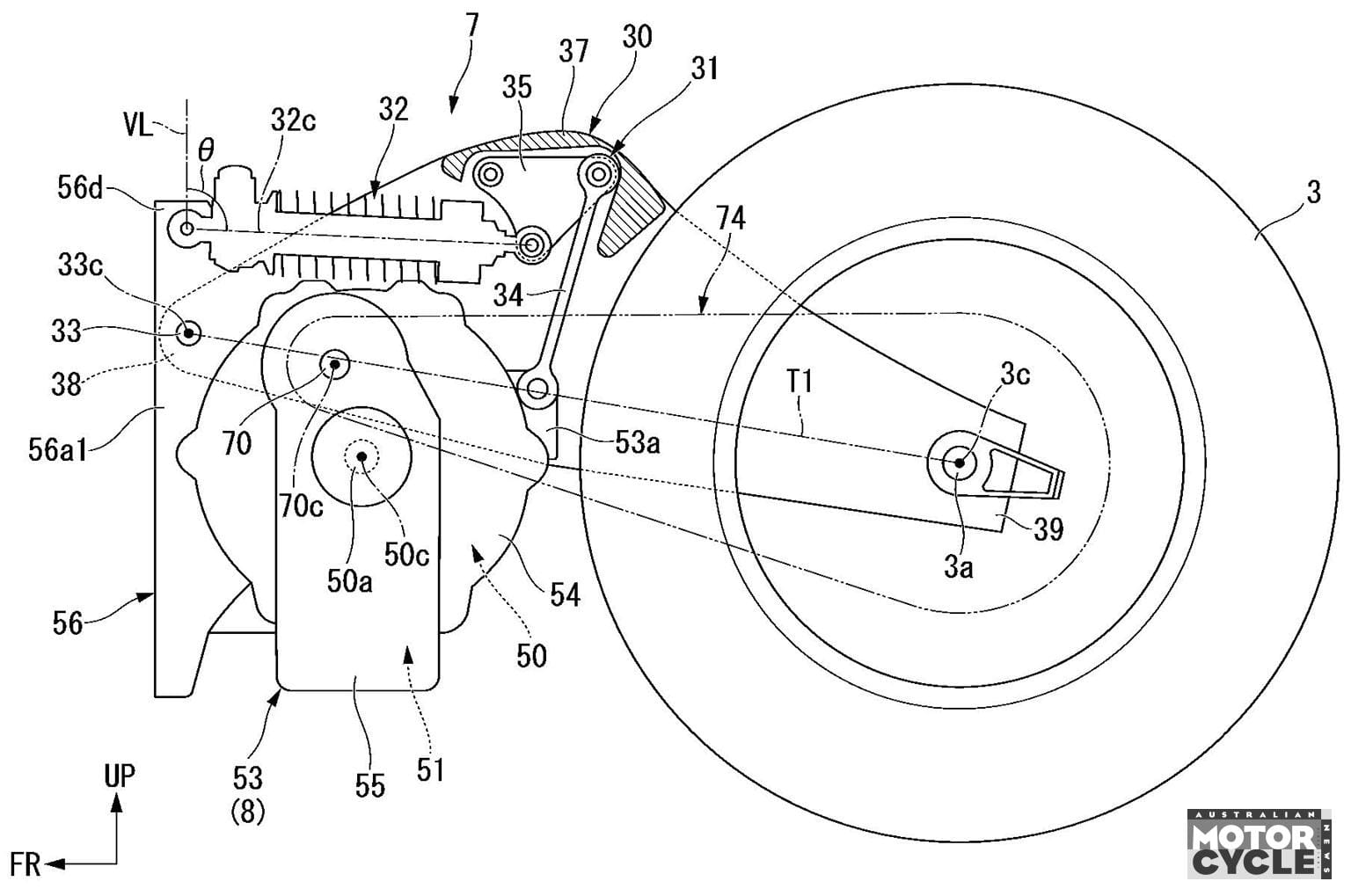
The clearest similarity is the motor and transmission, which are mounted unusually far back, behind the swingarm pivot, with the front sprocket above and in front of the motor’s output shaft. The last versions of the Mugen Shinden used the same layout, which clears more space in the bike’s main chassis for batteries and electronics while also allowing for a longer swingarm and shorter wheelbase than you’d be able to use if the motor was more conventionally positioned.
Honda’s new patent, however, shows an evolved version of the idea, combining the motor, swingarm and rear suspension into a single, bolt-on assembly that could be attached to a variety of different main chassis designs. To do that, there’s an ultra-compact rear suspension linkage with the rear shock mounted horizontally above the motor, almost enclosed within the upper section of the swingarm. Rearranging the usual, triangular rising-rate linkage into the top of the swingarm where it’s actuated by a pull-rod that pivots it to compress the shock as the rear wheel rises, is key to the design. The motor, the swingarm pivot axle and the front of the rear shock are all mounted on an alloy casting that bolts onto vertical mounts on the back of the main frame, using just three large bolts to attach the whole rear suspension and powertrain to the rest of the bike. Even the electronic connections to taking high-voltage electricity to the three-phase DC motor are included in the same mounting, which incorporates a quick-release plug into its front face.

Although most of the patent drawings show a conventional, beam-style alloy chassis, that’s not an essential element of the patent and some of the drawings show a revised version of the powertrain/suspension unit incorporating small outer swingarm pivot castings and footpeg brackets, designed to bolt onto the back of a box-like alloy or composite battery housing that would double as the bike’s main structure. Honda’s patent points out that because the drivetrain and swingarm pivot are mounted into a single casting, there’s no increase on stress to the main chassis section if, for example, a larger, more powerful motor is fitted.
Although the new patent is far from rock-solid confirmation that an electric Honda superbike is on the verge of production the level of detail in the illustrations suggests that there’s almost certainly a real prototype of this bike kicking around somewhere in the company’s R&D vaults. As of right now, in the middle of 2025, it’s hard to imagine Honda launching such a bike into a distinctly flaccid market for electric motorcycles. But give it a couple of years and it probably won’t look like a long shot anymore.











