Automated clutch could maximise off-the-line acceleration – could it be destined for WorldSBK?
Automating the gear shifting process has been a distinct trend of 2025 as bikes from BMW, KTM and Yamaha have hit the market using semi-auto or fully-auto transmissions with computer-controlled actuators to replace rider’s clutch and shift lever inputs. Now Ducati is getting a slice of the action by developing its own automated clutch – but the company’s new patents show it’s still leaving the actual shifts to the riders.

Honda has, of course, already introduced the idea of an automatic clutch with a manual transmission in the form of the E-Clutch system on the latest CB650R and CBR650R, which is also spreading to smaller-capacity bikes like the Rebel 300 and CL300, offering a much cheaper and simpler route to partially-automated gear changing than the complex dual clutch transmission it’s championed for more than a decade. Ducati’s design is conceptually similar to the E-Clutch, retaining a conventional clutch lever to allow a manual override but adding a computer-controlled, electro-mechanical system that can do the same job. However, Ducati’s design is mechanically very different to the Honda version.
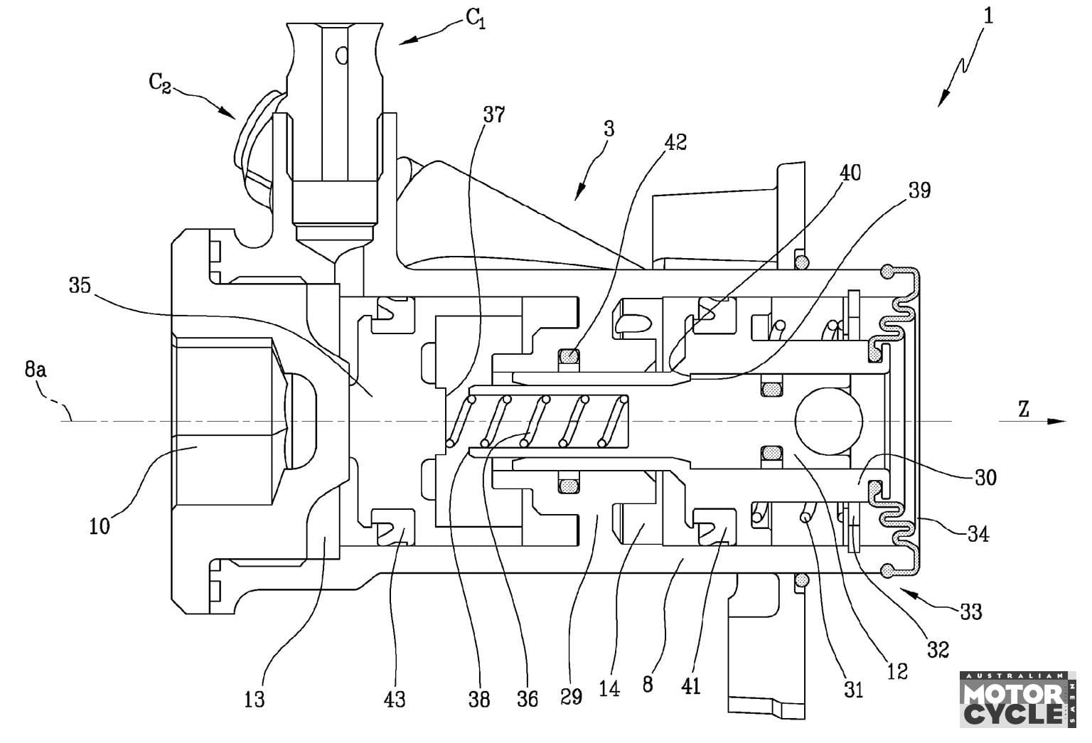
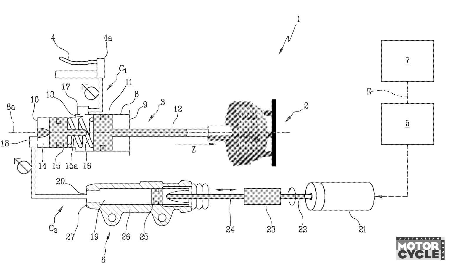
The E-Clutch is used, so far, on bikes with cable-operated clutches, and uses a servo motor built into the clutch cover to engage or disengage the clutch, with the normal cable and lever as a backup. Ducati’s is designed with hydraulic clutch control in mind, and the company has filed patent applications showing two variations on the idea.

In each, there’s an electro-mechanical actuator – essentially an electric motor spinning a threaded rod that’s inserted into a ball-screw assembly, pushing or pulling on an actuating rod that’s inserted into an extra clutch master cylinder. In the first version of the Ducati system, that master cylinder is, in turn, connected to the normal bar-mounted clutch master cylinder, so both the actuator and the conventional lever can independently push fluid through to the clutch slave cylinder to disengage the clutch.
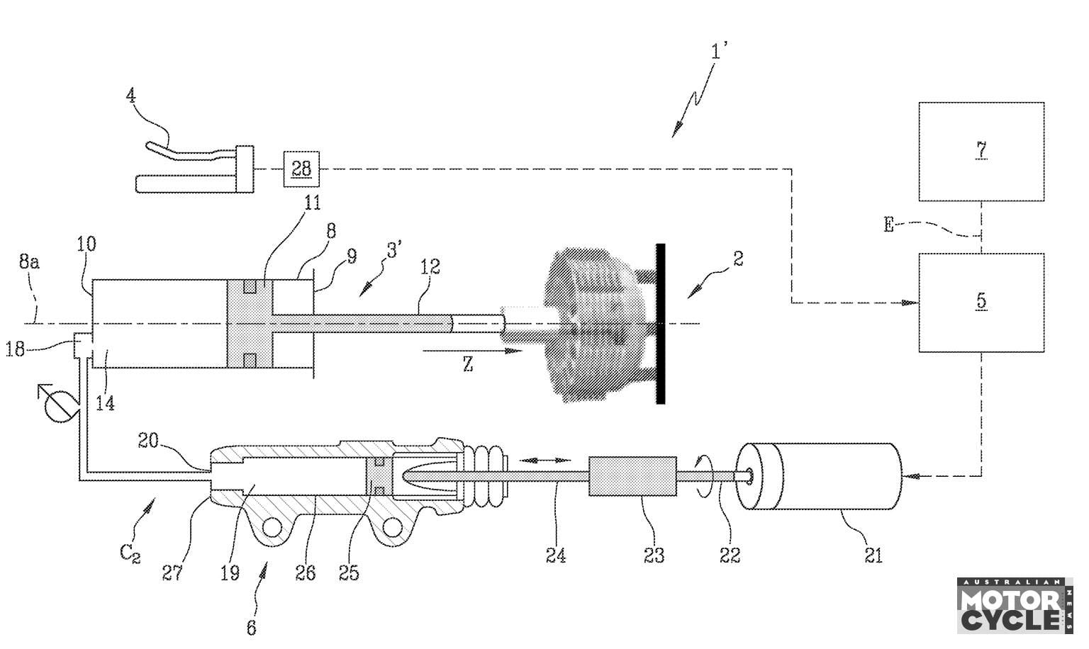
The second variation of the Ducati design uses the same electro-mechanical actuator and additional master cylinder, but eliminates the bar-mounted hydraulic system. In this iteration, there’s still a normal-looking clutch lever, but it simply sends instructions to the bike’s computer, telling it to engage or disengage the clutch using the auto-clutch system. The patent says that the gear shift is still conventional, with a foot-operated lever.

The Ducati system could operate like Honda’s E-Clutch, automatically engaging and disengaging the clutch when starting or stopping, as well as during gear shifts, or it can work more like a rider-aid, relying on you to control the clutch lever but, for example, acting as an anti-stall system by overriding ill-considered clutch controls, and as a launch-control system by perfectly balancing throttle and clutch when you simply nail the twistgrip and release the clutch lever.
Notably, regulations for WSBK would allow the automatic clutch to be used in competition, provided it’s fitted as standard to the homologated road bike that the racer is based on. A new Panigale R homologation-special street bike is expected to be launched later this year, so it will be intriguing to see if Ducati implements its semi-auto clutch on that model.











