World’s largest car company sets its sights on two wheels
Toyota has been one of the most dedicated fans of hydrogen power for years – championing it as a green alternative to electric vehicles – and a new patent from the car company unusually shows a two-wheeler in the form of a hydrogen-fuelled scooter.
Does it mean the world’s biggest car maker has finally seen the light and decided to pivot to bikes? No, but it indicates that the company is aware that if its dreams of a hydrogen-fuelled society are to come true then it needs to make the fuel work for vehicles on two wheels as well as four.

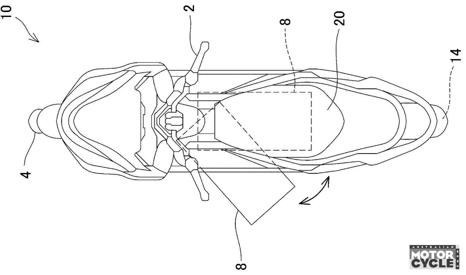
The patent itself relates specifically to the idea of using replaceable, pre-filled hydrogen cannisters instead of asking customers to get involved with pumping high-pressure gas into their vehicles. Instead, you’d simply pull into a filling station, detach your nearly-empty tank and clip a full one into place for instant, clean refuelling.
The outline of the scooter in Toyota’s patent application is familiar: it’s Suzuki’s old hydrogen fuel cell Burgman, specifically a version of that bike dating back 15 years to the 2011 Tokyo Motor Show. Suzuki, like Toyota, has been a long-term proponent of hydrogen fuel cells, so it would be no surprise for the two companies to work together on such a project. They’re already both part of the HYSE (Hydrogen Small Engine) project in Japan, intended to find solutions to the problem of incorporating hydrogen-fuelled combustion engines into motorcycles.

The patent addresses the fact that the hydrogen tank on a fuel cell scooter, like the various prototype Burgmans that Suzuki has built since the mid-2000s, sits low down in the bike’s spine. That’s good for the centre of gravity and mass centralisation, but makes access tough if you’re trying to swap the cannister. It’s a problem that makers of battery-swappable electric bikes have also faced: if the batteries are buried in the centre of the bike, it’s hard to access and swap them.
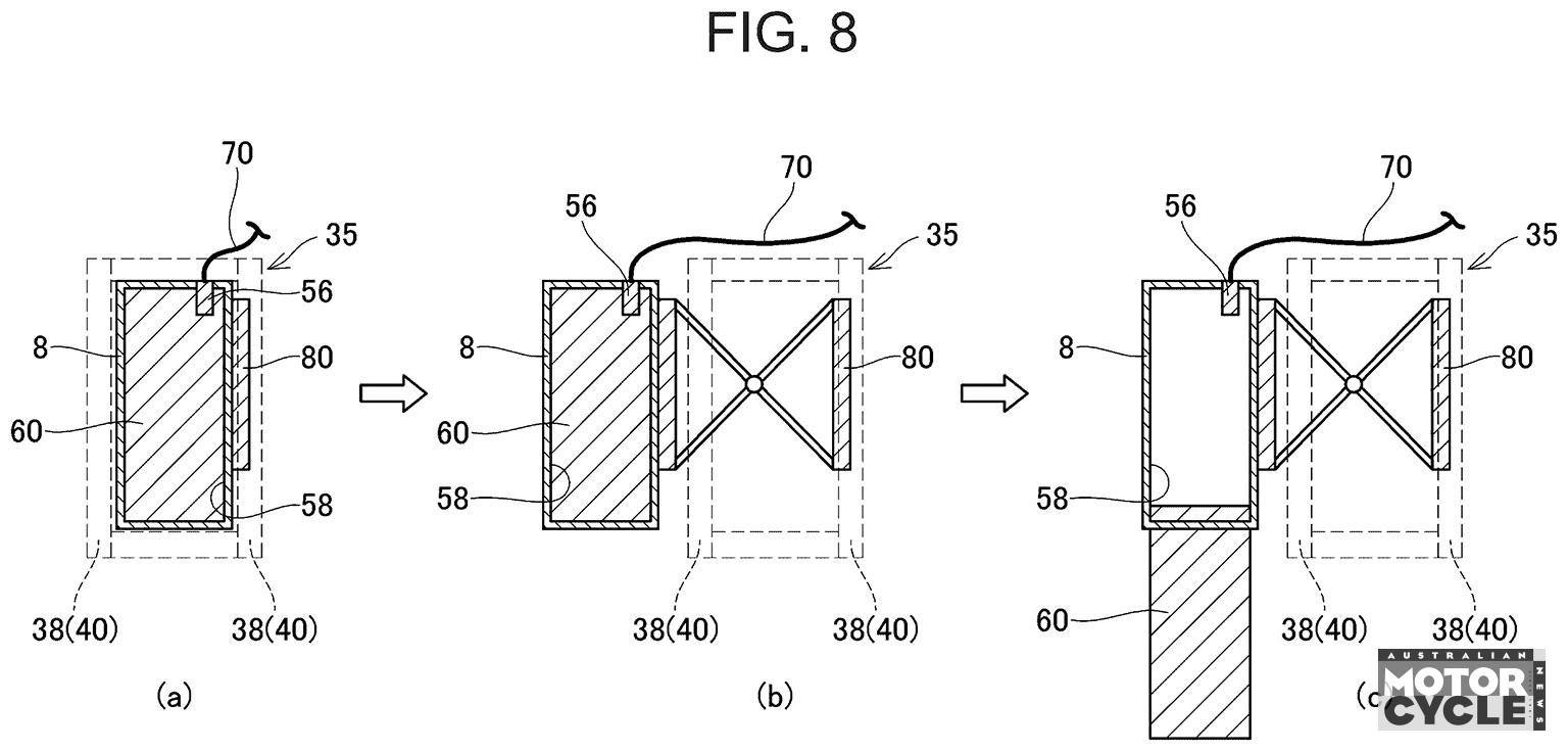
Toyota’s solution is to mount the hydrogen tank in a hinged cradle that pivots at the front, so the cannister can swing out to one side for removal. A second variation on the idea places that cradle on scissor-action arms that let it move to the side while remaining parallel to the bike. In both instances, once extended, the cannister can be easily removed and replaced.

While Suzuki’s most recent hydrogen-fuelled Burgman prototype uses a combustion engine instead of the fuel cells of earlier designs, the Toyota patent specifically mentions the use of a fuel cell. Its replaceable cannister system is well suited to fuel cells – which reacts hydrogen with oxygen from the air to create electricity, with water as the only exhaust. Fuel cells are more efficient than hydrogen combustion engines, allowing more range from a smaller tank, as well as being cleaner, as there are none of the combustion byproducts that come from a hydrogen combustion engine, like nitrogen oxides. However, they also required purer, cleaner hydrogen fuel to avoid contamination that could damage the fuel cell, and the use of replaceable cannisters rather than refuelling helps ensure contaminants can’t enter the system.
Are you likely to be able to buy a hydrogen fuel cell scooter from Toyota anytime soon? It’s not likely, but the company’s dedication to the idea of a hydrogen society means that in the more distant future there’s still a chance that hydrogen fuel cells, rather than rechargeable batteries, will power our electric vehicles.











