Skip to content
  • News
  • Bike reviews
    • Adventure
    • Cruiser
    • Dirt
    • Electric
    • Pre-2000
    • Retro
    • Road
    • Scooter
    • Sportsbike
    • Touring
    • Used bike
  • Racing
    • ASBK
    • Club
    • MotoGP
    • Off-road
    • WorldSBK
  • Features
    • Motorcycle of the Year
    • History
    • How to
    • Interviews
    • Opinion
    • Rides
  • Products
    • New gear
    • Reviews
  • Events
    • Courses
    • Racing calendar
    • Rallies & shows
    • Ride days
    • Tours
  • Video
  • The Home of Fred Gassit
  • Subscribe
  • News
  • Bike reviews
    • Adventure
    • Cruiser
    • Dirt
    • Electric
    • Pre-2000
    • Retro
    • Road
    • Scooter
    • Sportsbike
    • Touring
    • Used bike
  • Racing
    • ASBK
    • Club
    • MotoGP
    • Off-road
    • WorldSBK
  • Features
    • Motorcycle of the Year
    • History
    • How to
    • Interviews
    • Opinion
    • Rides
  • Products
    • New gear
    • Reviews
  • Events
    • Courses
    • Racing calendar
    • Rallies & shows
    • Ride days
    • Tours
  • Video
  • The Home of Fred Gassit

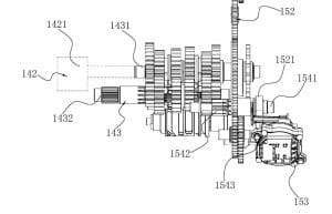
CFMOTO-reverse-gear-patent-3

24 February 2025
Words: AMCN
Photos: AMCN

Ad Console

Slider Category not found

Since 1951!

Australian Motorcycle News has been the fortnightly bible for all things motorcycling for more than 73 years

It’s the latest news, the most comprehensive bike tests, the most in-depth racing coverage from club level through to world championship level and it’s written by people who love, live and breathe motorcycling. Whether it’s content, photography, industry access or outright respect, no other motorcycle title comes close.

  • COLUMN
    • News
    • Bike reviews
      • Adventure
      • Dirt
      • Electric
      • Pre-2000
      • Retro
      • Road
      • Scooter
      • Sportsbike
      • Touring
      • Used bike
  • COLUMN
    • Racing
      • ASBK
      • Club
      • MotoGP
      • Off-road
      • WorldSBK
    • Features
      • History
      • How to
      • Interviews
      • Opinion
      • Rides
  • COLUMN
    • Products
      • New gear
      • Reviews
    • Events
      • Courses
      • Racing calendar
      • Rallies & shows
      • Ride days
      • Tours
  • COLUMN
    • About Us
      • Subscribe
      • Video
      • Advertise
      • Contact
  • COLUMN
    • About Us
      • Subscribe
      • Video
      • Contact

SIGN UP TO AMCN’S WEEKLY NEWSLETTER

be in the know
  • Copyright
  • T&C
  • Privacy Policy

© 2024 Citrus Media
All rights reserved.