Patent shows simple system to move the bars and pegs on-the-fly
A motorcycle that can transform on the move from race-rep crouch to a comfortable upright riding position has been something manufacturers have imagined for decades – at least going back to the 1989 Yamaha Morpho concept demonstrated precisely that – but there’s still no showroom offering that can actually achieve that goal. Now CFMOTO has filed patent applications for a system that could finally bring an adaptable riding position to production models without a ground-up redesign and vast price tag.

The system is based around two elements: movable bars that can rise or lower electrically depending on your requirements, and footpegs that swing upwards and rearwards for a sportier posture or down and forwards for a more relaxed position.
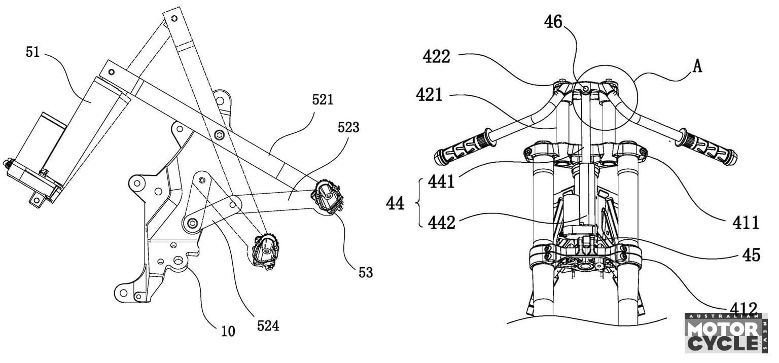
Starting at the front, the movable bars in CFMOTO’s patent are mounted on normal, upside-down forks, with a conventional steering stem and triple clamps. The difference is that the bars themselves are attached to an aluminium bracket that sits above the top yoke, mounted on two sliders that drop into corresponding holes on the yoke. A third shaft extends down from the handlebar bracket in front of the steering head into an electromechanical actuator that raises or lowers that shaft – and with it the bar mounting bracket and the bars themselves – at the command of an on-board computer. The shape of the bars themselves means that when they’re at their lowest position they’re like low-slung sport bike clip-ons, but when raised they adopt a position more like the one-piece bar you’d find on a roadster. The advantage of the system is that it could be adopted on virtually any motorcycle, simply by adding the new top yoke, actuator and bars, without changing the main structure of the chassis.

The footpegs also move using a simple system, each getting their own linear electromechanical actuator, and can mount on a normal bike’s chassis if it has the sort of two-bolt, triangulated footpeg hanger that most sports bikes use. The trick is that the upper of those two bolt holes in the chassis becomes a pivot point in the centre of a longer alloy bar, with the footpeg on the rear end and the linear actuator on the front, where it’s clamped or bolted to the main frame. Extend the actuator upwards and the footpeg bracket see-saws on that pivot point, lowering the peg and bringing it forward in an arc. Retract the actuator and the peg goes upwards and backwards into a sportier position. A two-piece secondary linkage attaches the peg to the lower of the two footpeg hanger mounting holes, providing additional lateral bracing but hinging in the vertical plane to allow the peg to move.

It’s a simple system, so why hasn’t it been done before? The answer could lie in the recent proliferation of semi-automatic gearshifts. You’ll notice that the patents make no provision to move a gear shifter or rear brake pedal along with the footpegs – doing so would add a whole new layer of complication – but if there’s a semi-auto, pushbutton shifter and automated clutch, and the back brake is moved to the left bar, the foot controls can be eliminated, allowing CFMOTO’s simple active riding position system to be easily adopted.











