Teardrop-shaped machine could be the ultimate in aerodynamics
There’s nothing new in the idea of a fully-enclosed motorcycle – it’s an idea that’s been tried many times before with varying success but never broken through into the mainstream. But what if a big brand like BMW made one? That’s the question posed by the emergence of a new patent application from the German firm showing just such a bike.

Perhaps the most successful enclosed motorcycle to reach the market is the Swiss Peraves Ecomobile, launched back in 1984 with, coincidentally, a BMW engine. Its successor, the Peraves Monoracer, remains on the market today in electric form, offering 250km/h performance and a 400km range from a 130kW motor and 28.5kWh battery thanks to the remarkable aero efficiency of the smooth, narrow shape.
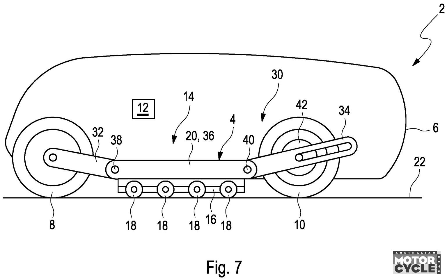
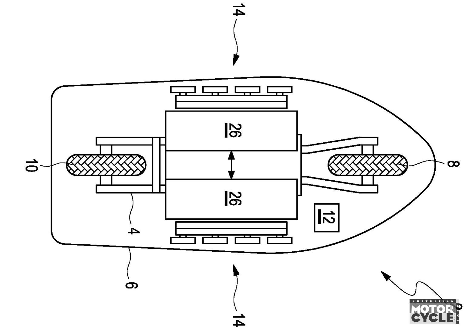
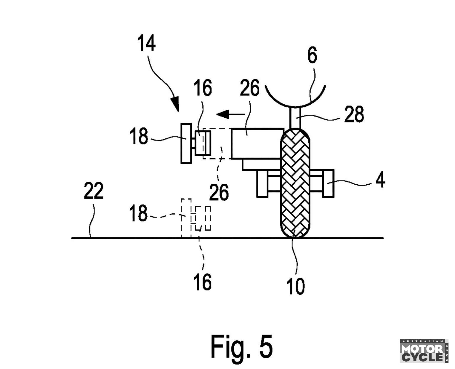
BMW’s new patent aims to address one of the most obvious problems of an enclosed two-wheeler, namely how to prevent it from falling over at a standstill. After all, you can’t put a foot down. Peraves successfully uses a pair of extendable stabilising wheels, one on each side, while other tandem two-wheelers have experimented with gyroscopes, including the crazy Gyro-X concept car/bike mixture that appeared back in 1967. BMW’s patent writes off the idea of gyros due to their weight, reverting to stabilising wheels, but instead of having one on each side it features no fewer than eight, arranged in two rows of four.

The patent suggests several versions of their deployment system, but the advantage of the eight-wheel setup appears to be the ability to be narrower than the two-wheel stabilising system used by Peraves – which places its stabilisers wide to make sure the bike remains upright even on uneven surfaces. With eight stabiliser wheels, even if one or two end up over a pothole, the BMW design shouldn’t topple over.
The advantages of the enclosed design are spelt out in BMW’s patent: the vehicle takes up relatively little space on the road, the rider/driver is protected from the weather, and the combination of a small frontal area and smooth aerodynamics promises efficiency.

BMW isn’t new to this idea, either. The company has previously shown a brace of narrow, three-wheeled concept vehicles that offer a similar ability to lean into corners – the 2008 Concept Simple and the 2009 Concept C.L.E.V.E.R. – and of course it had its famous dalliance with roofed scooters with the production C1 at the turn of the millennium.
Will the new patent become a production machine? Don’t hold your breath, but as manufacturers try to find new balances of performance, range and safety, particularly from electric vehicles, perhaps its time for the teardrop-shaped enclosed motorcycle to have another shot at mainstream success.











