Skip to content
News
Bike reviews
Adventure
Cruiser
Dirt
Electric
Pre-2000
Retro
Road
Scooter
Sportsbike
Touring
Used bike
Racing
ASBK
Club
MotoGP
Off-road
WorldSBK
Features
Motorcycle of the Year
History
How to
Interviews
Opinion
Rides
Products
New gear
Reviews
Events
Courses
Racing calendar
Rallies & shows
Ride days
Tours
Video
The Home of Fred Gassit
Subscribe
News
Bike reviews
Adventure
Cruiser
Dirt
Electric
Pre-2000
Retro
Road
Scooter
Sportsbike
Touring
Used bike
Racing
ASBK
Club
MotoGP
Off-road
WorldSBK
Features
Motorcycle of the Year
History
How to
Interviews
Opinion
Rides
Products
New gear
Reviews
Events
Courses
Racing calendar
Rallies & shows
Ride days
Tours
Video
The Home of Fred Gassit
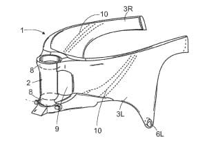
Aprilia-carbon-frame-3
26 February 2025
Words:
AMCN
Photos:
AMCN
Ad Console
Slider Category not found
Ohhh Snap! JavaScript appears to be disabled
- features on this website will not function properly.